YourData
+
玉东数据
首页
专升本
CLASSROOM
博客
AI
工具
登录
甘肃省普通高校专升本(土建类)工程制图测试卷(三)
pdf
4. (填空)
4.
[填空]
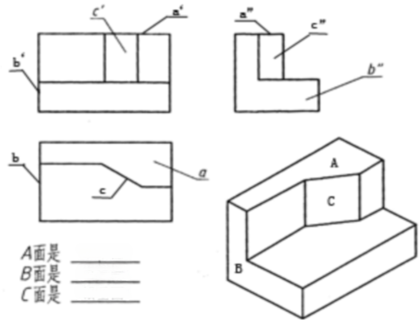
在立体图上标出各平面的位置(用相应的大写字母),并在投影图上标出指定平面的其它两个投影。并判定其为何种位置平面。 (1)
(2)
答案:
解析:
查看答案
获取全套资料
下载为PDF
打印
Copyright ©
YourData
+
2025.
甘肃玉东数据有限公司
应用
合作
解决方案
MUI-Remix
18919890888
微信同 号
陇ICP备2021001826号